TX3351-GP/AP-表压/绝压变送器用于测量液体、气体或蒸汽的液位、密度、压力,然后将其转变成4~20mADC HART电流信号输出。TX3351-GP/ AP也可与RST375手持终端或RSM100 Modem 相互通信,通过它们进行参数设定、过程监控等。
标准规格
(以标准零点为基准调校量程,不锈钢 316L膜片,填充液为硅油)
1性能规格
调量程的参考精度
(包括从零点开始的线性、回差和重复性)± 0.075%,若TD>10 (TD=调节量程),则为:±(0.0075×TD)%
环境温度影响
| 量程代码 | -20℃~65℃总影响量 |
| B/L | ±(0.30×TD+0.20)%×Span |
| 其它 | ±(0.20×TD+0.10)%×Span |
| 量程代码 | -40℃~-20℃和65℃~85℃总影响量 |
| B/L | ±(0.30×TD+0.20)%×Span |
| 其它 | ±(0.20×TD+0.10)%×Span |
过范围影响:±0.075%×Span
长期稳定性
| 量程代码 | 影响量 |
| B/L | ±0.2%×Span/1年 |
| 其它 | ±0.1%×Span/1年 |
电源影响
±0.001% /10V (12~42V DC),可忽略不计
2功能规格
量程和范围(TX3351-GP-表压)
| 量程/范围 | kPa | bar | |
| B | 量程 | 0.6~6 | 6~60mbar |
| 范围 | -6~6 | -60~60mbar | |
| C | 量程 | 2~40 | 0.02~0.4 |
| 范围 | -40~40 | -0.4~0.4 | |
| D | 量程 | 2.5~250 | 0.025~2.5 |
| 范围 | -100~250 | -1~2.5 | |
| F | 量程 | 30~3000 | 0.3~30 |
| 范围 | -100~3000 | -1~30 | |
| G | 量程 | 0.1~10MPa | 1~100 |
| 范围 | -0.1~10MPa | -1~100 | |
| H | 量程 | 0.21~21 MPa | 2.1~210 |
| 范围 | -0.1~21 MPa | -1~210 | |
| I | 量程 | 0.4~40 MPa | 4~400 |
| 范围 | -0.1~40 MPa | -1~400 | |
| J | 量程 | 0.6~60 MPa | 6~600 |
| 范围 | -0.1~60 MPa | -1~600 | |
量程和范围(TX3351-AP-绝压)
| 量程/范围 | kPa | bar | |
| L | 量程 | 2~40 | 0.02~0.4 |
| 范围 | 0~40 | 0~0.4 | |
| M | 量程 | 2.5~250 | 0.025~2.5 |
| 范围 | 0~250 | 0~2.5 | |
| O | 量程 | 30~3000 | 0.3~30 |
| 范围 | 0~3000 | 0~30 | |
量程限
在量程的上下限范围内,可以任意调整。建议选择量程比尽可能低的量程代码,以优化性能特征。
零点设置
零点和量程可以调节到表中测量范围内的任何值,只要:标定量程
安装位置影响
与膜片面平行方向的安装位置变化不会造成零漂影响,若安装位置与膜片面超过90°的变化,量程C有<0.25kPa范围内的零位漂移,其它量程有<0.15kPa范围内的零位影响,均可以通过调节调零校正。无量程影响。
输出
2线制,4~20mADC,可选HART输出数字通讯,可选择线性或平方根输出。
输出信号极限:Imin=3.9mA,Imax=20.5mA
报警电流
低报模式:3.7 mA
高报模式:21 mA
不报模式(保持):保持故障前的有效电流值
报警电流标准设置:高报模式
响应时间
放大器部件阻尼常数为0.1s;传感器时间常数为0.1~1.6s,取决于量程及量程比。附加的可调时间常数为:0.1~60s。
预热时间: < 15s
环境温度
-40~85℃ 带液晶显示、氟橡胶密封圈时 -20~65℃
储存温度/运输温度
-50~85℃ 带液晶显示时:-40~85℃
过载极限:
| 量程 |
6kPa (B) |
40kPa (C/L) |
250kPa (D/M) |
3MPa (F/O) |
| 过载极限 | 0.2MPa | 1MPa | 4MPa | 16MPa |
| 量程 |
10MPa (G) |
21MPa (H) |
40MPa (I) |
60MPa (K) |
| 过载极限 | 20MPa | 50MPa | 50MPa | 70MPa |
电磁兼容性(EMC)
见下页《电磁兼容性附表》
3安装
电源及负载条件
电源电压为24V,R≤(Us-12V)/Imax kΩ
其中 Imax=23 mA
电源电压:42VDC
电源电压:12VDC,15VDC(背光液晶显示)
数字通讯负载范围: 230~600Ω
电气连接
M20X1.5电缆密封扣,接线端子适用于0.5~2.5mm2的导线。
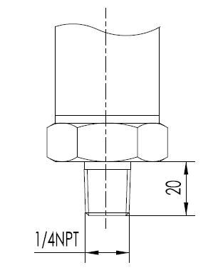
过程连接
标准过程连接:NPT 1/2内螺纹,可转成NPT 1/2、G1/2以及M20x1.5的外螺纹、KF16真空接口。
4物理规格
材质
膜片:不锈钢 316L、哈氏合金C
过程连接:不锈钢 316L
填充液:硅油
变送器外壳:铝合金材质,外表喷涂环氧树脂
外壳密封圈:丁腈橡胶(NBR)
铭牌: 不锈钢 304
重量
1.6kg(无:液晶显示、安装支架、过程连接)
外壳防护等级
IP67
电磁兼容性附表
| 序号 | 测试项目 | 基本标准 | 测试条件 | 性能等级 |
| 1 | 辐射干扰(外壳) | GB/T 9254-2008表5 | 30MHz~1000MHz | 合格 |
| 2 |
传导干扰 (直流电源端口) | GB/T 9254-2008表1 | 0.15MHz~30MHz | 合格 |
| 3 | 静电放电(ESD)抗扰度 | GB/T 17626.2-2006 |
4kV(触点) 8kV(空气) | B |
| 4 | 射频电磁场抗扰度 | GB/T 17626.3-2006 | 10V/m (80MHz~1GHz) | A |
| 5 | 工频磁场抗扰度 | GB/T 17626.8-2006 | 30A/m | A |
| 6 | 电快速瞬变脉冲群抗扰度 | GB/T 17626.4-2008 | 2kV(5/50ns,5kHz) | B |
| 7 | 浪涌抗扰度 | GB/T 17626.5-2008 |
1kV(线线之间) 2kV(线地之间)(1.2us/50us) | B |
| 8 | 射频场感应的传导干扰抗扰度 | GB/T 17626.6-2008 | 3V (150KHz~80MHz) | A |
注:(1)A性能等级说明:测试时,在技术规范极限内性能正常。
(2)B性能等级说明:测试时,功能或性能暂时降低或丧失,但能自行恢复,实际运行状况、存储及其数据不改变。
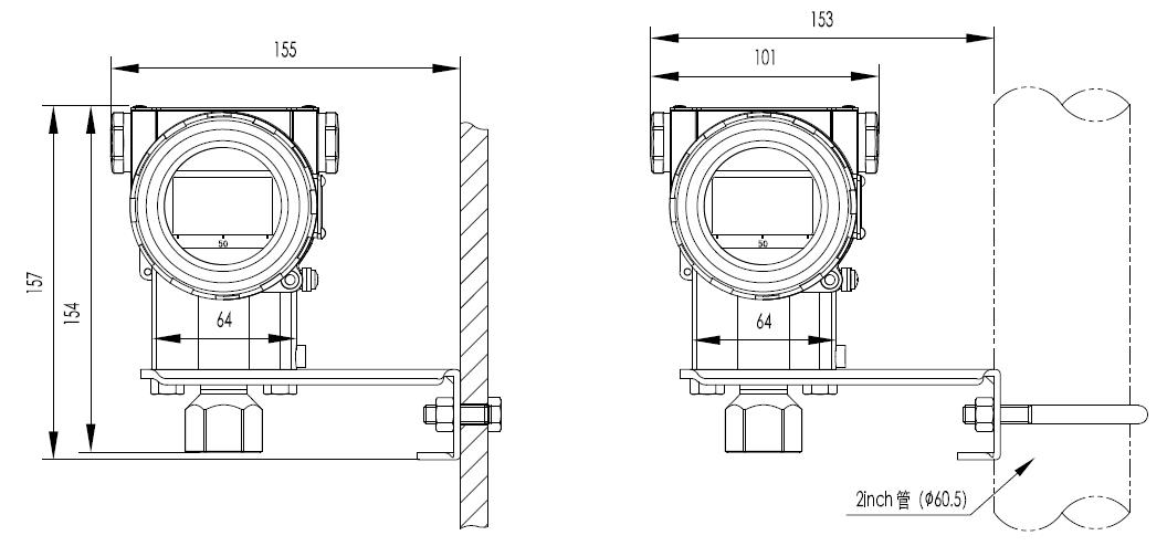
外形尺寸 单位(mm)
水平配管连接方式(侧面) 水平配管连接方式(正面)

墙装连接方式 垂直配管连接方式

5 电气连接图

注:快捷接口功能等同于信号端子。
6 过程连接说明(代码1)
6.1 标准形式(代码1)
D/M/F/G/H/I/K/O量程接口图 B/C/L量程接口图

6.2 衍生接口形式
1/2英寸NPT 外螺纹(代码2) M20x1.5 外螺纹(代码3)

G1/2 外螺纹(代码4) 真空接口 DIN 28403 KF16 / ISO 2861(代码5)

1/4英寸NPT外螺纹(代码6)
7型号和规格代码表
| 表压变送器散件选型 TX3351-GP- | |||||||||||||||||||||||
| 绝压变送器散件选型 TX3351-AP- | |||||||||||||||||||||||
| 10 | 输出 | ||||||||||||||||||||||
| B | 基本误差±0.075% 4-20mA带HART通讯 | ||||||||||||||||||||||
| 20 | 量程 | ||||||||||||||||||||||
| 表压TX3351-GP | |||||||||||||||||||||||
| B | 0-0.6kPa~6kPa /(0-60~600 mmH2O)/(0-6~60mbar) | ||||||||||||||||||||||
| C | 0-2kPa~40kPa /(0-200~4000 mmH2O)/(0-20~400mbar) | ||||||||||||||||||||||
| D | 0-2.5kPa~250kPa /(0-0.25~25 mH2O)/(0-25~2500mbar) | ||||||||||||||||||||||
| F | 0-30kPa~3MPa /(0-3~300 mH2O)/(0-0.3~30bar) | ||||||||||||||||||||||
| G | 0-0.1MPa~10MPa /(0-1~100bar) | ||||||||||||||||||||||
| H | 0-0.21MPa~21MPa /(0-2.1~210 bar) | ||||||||||||||||||||||
| I | 0-0.4MPa~40MPa /(0-4~400 bar) | ||||||||||||||||||||||
| J | 0-0.6MPa~60MPa /(0-6~600 bar) | ||||||||||||||||||||||
| 绝压TX3351-AP | |||||||||||||||||||||||
| L | 0-10kPa~40kPa /(0-1000~4000 mmH2O)/(0-10~400mbar) | ||||||||||||||||||||||
| M | 0-10kPa~250kPa /(0-100~2500mbar) | ||||||||||||||||||||||
| O | 0-30kPa~3MPa /(0-0.3~30bar) | ||||||||||||||||||||||
| 30 | 膜片材质 填充液 | ||||||||||||||||||||||
| A | 不锈钢 316L | 硅油 | |||||||||||||||||||||
| B | 不锈钢 316L | 氟油 | |||||||||||||||||||||
| C | 哈氏合金C | 硅油 | |||||||||||||||||||||
| D | 哈氏合金C | 氟油 | |||||||||||||||||||||
| E | 不锈钢 316L 镀金 | 硅油 | |||||||||||||||||||||
| 40 | 过程连接 | ||||||||||||||||||||||
| 1 | 1/2英寸NPT 内螺纹 | ||||||||||||||||||||||
| 2 | 1/2英寸NPT 外螺纹(内含1/4英寸NPT) | ||||||||||||||||||||||
| 3 | M20x1.5 外螺纹(14x2焊管接头) | ||||||||||||||||||||||
| 4 | G 1/2 外螺纹 | ||||||||||||||||||||||
| 5 | 真空接口 DIN 28403 KF16 / ISO 2861 | ||||||||||||||||||||||
| 6 | 1/4英寸NPT 外螺纹 | ||||||||||||||||||||||
| 50 | 特殊功能 | ||||||||||||||||||||||
| N | 无 | ||||||||||||||||||||||
| P | 防雷击功能 | ||||||||||||||||||||||
| O | 禁油处理(氧气测量限氟油填充液、氟橡胶密封圈、<6MPa、<60℃) | ||||||||||||||||||||||
| 60 | 安装支架 | ||||||||||||||||||||||
| N | 无 | ||||||||||||||||||||||
| 1 | 不锈钢 | ||||||||||||||||||||||
| 2 | 碳钢镀锌 | ||||||||||||||||||||||
| 70 | 液晶显示 | ||||||||||||||||||||||
| 0 | 无 | ||||||||||||||||||||||
| 2 | LED背光液晶显示(-20℃) | ||||||||||||||||||||||
| 3 | OLED显示(-40℃) | ||||||||||||||||||||||
| 80 | 防爆选项 | ||||||||||||||||||||||
| N | 基本型 | ||||||||||||||||||||||
| A | 本安型,NEPSI | ||||||||||||||||||||||
| D | 隔爆型,NEPSI (不含隔爆电缆接头) | ||||||||||||||||||||||
| 90 | 位号标牌 | ||||||||||||||||||||||
| N | 无 | ||||||||||||||||||||||
| 1 | 位号标于铭牌内 | ||||||||||||||||||||||
| 2 | 悬挂式不锈钢标牌 | ||||||||||||||||||||||
| 100 | 使用说明 | ||||||||||||||||||||||
| C | 中文 | ||||||||||||||||||||||
| E | 英文 | ||||||||||||||||||||||
| 110 | 附加选项 | ||||||||||||||||||||||
| S | 不锈钢表壳 | ||||||||||||||||||||||
| V | 低电压版 | ||||||||||||||||||||||
注1:TX3351-GP对应选表压量程代码,TX3351-AP对应选绝压量程代码;
注2:真空接口 DIN 28403 KF16 / ISO 2861,仅适用小于2.5bar以内的量程。
Copyright 恒信彩 版权所有 苏ICP备12002763号-10
全国服务电话:0519-85225861-856 ? 传真:0519-85281591
公司地址:江苏省常州市新北区孟河镇郭河工业园